→о执耳源
  • 盎司函
    盎司函

    2016-09-27

    НЕ ЧАСТИ NO КОЛИЧЕСТВО имя 名 称 1 WG9000361201 1 правый угол разъема тела NG8 / NW6 直角接头体 NG8/NW6 2 WG9000361404 1 6 - NG8 NG12 / вспомогательный Газовый модуль 辅助用气模块 NG12/6-NG8 3 WG9000361204 1 NG12 / NW9 Угловыеразъем тела 直角接头体 NG12/NW9 其他管路连接件 другие трубы фитинги WG9000361004 1 упругий элемент NG8 弹性元件 NG8 WG9000361005 1 стопорное кольцо NG8 卡簧 NG8 WG9000361006 1 гайка сиденья NG8 螺母座 NG8 19...

    阅读更多
  • запор恒
    запор恒

    2016-09-27

    № Арт.НР количество имя китайское имя 1 WG9000360515 2 ABS электромагнитный клапан WABCO ABS 电磁阀 WABCO 2 Q150B0880 4 болт 螺栓 3 Q40108 4 плоская шайба 平垫圈 4 Q40308 4 весной шайба 弹簧垫圈 5 Q340B08 4 типа 1 Шестигранная гайка 1 型六角螺母

    阅读更多
  • abs эd〜dRTRIp CCly(зза电话)
    abs эd〜dRTRIp CCly(зза电话)

    2016-09-27

    № Арт.НР количество имя китайское имя 1 AZ9725360027 2 стентов (ABS электромагнитный клапан) 支架 ( ABS 电磁阀) 2 Q150B1045 4 Шестигранная гайка 六角螺母 3 WG9000360515 2 ABS электромагнитный клапан WABCO ABS 电磁阀 WABCO 4 Q150B0880 4 болт 螺栓 5 Q40108 4 плоская6 Q40308 4 4 Q340B08 4弹簧弹簧ййшш弹簧弹簧弹簧弹簧弹簧弹簧弹簧弹簧弹簧弹簧弹簧弹簧弹簧弹簧弹簧弹簧弹簧弹簧弹簧弹簧弹簧弹簧弹簧弹簧弹簧弹簧弹簧弹簧弹簧弹簧弹簧弹簧弹簧弹簧弹簧弹簧弹簧弹簧弹簧弹簧弹簧弹簧弹簧弹簧弹簧弹簧弹簧弹簧弹簧弹簧弹簧弹簧弹簧弹簧弹簧弹簧弹簧弹簧弹簧弹簧弹簧弹簧弹簧1ш前1ш。

    阅读更多
  • c之扰。
    c之扰。

    2016-09-27

    НЕ ЧАСТИ NO количество имя части 名 称 1 AZ9925360813 1 спиральная трубка монтажа кронштейн сборки 螺旋管安装支架总成 2 Q340810 8 Шестигранная гайка 六角螺母 3 Q40310 8 весной шайба 弹簧垫圈 4 Q40110 8 плоская шайба 平垫圈 5 AZ9725550001 8 большой шайба 大垫圈6 Q150B1040 8寻址7 Q150B0820 6寻址7 Q150B0820 6寻址

    阅读更多
  • wistem生电电电电仑μ服务
    wistem生电电电电仑μ服务

    2016-09-27

    НЕ ЧАСТИ NO КОЛИЧЕСТВО ИМЯ 名 称 1 WG9000360525 1 прицепа управления клапан 挂车控制阀 2 AZ9925360847 1 прицеп управления клапан стенты 挂车控制阀支架 3 Q40108 2 плоская шайба 平垫圈 4 Q40308 2 весной шайба 弹簧垫圈 5 Q340808 2 типа 1 Шестигранная гайка 1 型6 Q150b1040 2 fom Q401102μ11102плоск至8 Q40310 2 Q40310 2 Q40110 2 Q40110 2 Q40310 2

    阅读更多
  • lim生见г
    lim生见г

    2016-09-27

    НЕ ЧАСТИ NO КОЛИЧЕСТВО ИМЯ ЧАСТИ 名 称 1 WG9000360524 2 Реле клапана 继动阀 2 AZ9725360044 2 Реле клапана стентов 继动阀支架 3 Q40108 4 плоская шайба 平垫圈 4 Q40308 4 весной шайба 弹簧垫圈 5 Q340B08 4 типа 1 Шестигранная гайка 1 型六角螺母6Q340b10 4шLTEm。

    阅读更多
  • 听志。
    听志。

    2016-09-27

    НЕ ЧАСТИ NO КОЛИЧЕСТВО ИМЯ 名 称 1 WG9000360715 1 воздуха цилиндр Ассамблеи Φ 275/30 л 储气筒总成 Φ275/30 Л 2 Q340B12 6 Шестигранная гайка 六角螺母 3 Q40312 6 весной шайба 弹簧垫圈 4 Q40112 6 плоская шайба 平垫圈 5 Q150B1240 6с шестигранной головкой 六角头螺栓 6 AZ9925360860 1 воздуха cy Линдер кронштейн сборки 储气筒支架总成 7 WG9000360716 1 воздуха цилиндр Ассамблеи Φ 275/20 л 储气筒总成 Φ275/20 Л 8 WG9719360024 4 затянуть пояса...

    阅读更多
  • пере归馈
    пере归馈

    2016-09-27

    НЕ ЧАСТИ NO КОЛИЧЕСТВО ИМЯ 名 称 1 AZ9925360840 2 поддержки сборки 支架总成 2 WG9000360715 1 воздуха цилиндра Ассамблеи Φ 275/30 л 储气筒总成 Φ275/30 Л 3 Q340B10 6 Шестигранная гайка 六角螺母 4 Q40310 6 весной шайба 弹簧垫圈 5 Q401108 8 µS 6 WG99118360019 2з栓了

    阅读更多
  • lim + lip +чli +чlibein +зliby +з执 +з执 +зз电й执
    lim + lip +чli +чlibein +зliby +з执 +з执 +зз电й执

    2016-09-27

    № Арт.НР количество имя части китайское имя 1 AZ9925360844 1 воздуха цилиндра кронштейн сборки 储气筒支架总成 2 Q40112 9 плоская шайба 平垫圈 8w82 31 x 1 3 Q40312 9 весной шайба 弹簧垫圈 4 Q340B12 6 типа Ⅰ Шестигранная гайка Ⅰ型六角头螺母 5 WG9000360519 1 клапан переполнения 0,6 МПа без возврата 溢流阀 0.6Mpa 无回流 6 Q151C1230 3 с шестигранной головкой (зубы) 六角头螺栓 ( 细牙 ) 7 190003559385 1 через совместного органа 2 - M22 ...

    阅读更多
  • 实极生激。
    实极生激。

    2016-09-27

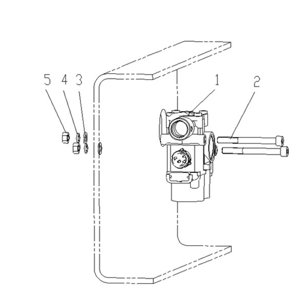
    НЕ ЧАСТИ NO КОЛИЧЕСТВО ИМЯ 名 称 1 WG9000361201 1 правый угол разъема тела NG8 / NW6 直角接头体 NG8/NW6 2 WG9000361404 1 6 - NG8 NG12 / вспомогательный Газовый модуль 辅助用气模块 NG12/6-NG8 3 WG9000361204 1 NG12 / NW9 Угловыеразъем тела 直角接头体 NG12/NW9 其他管路连接件 другие трубы фитинги WG9000361004 1 упругий элемент NG8 弹性元件 NG8 WG9000361005 1 стопорное кольцо NG8 卡簧 NG8 WG9000361006 1 гайка сиденья NG8 螺母座 NG8 19...

    阅读更多
  • wimoution
    wimoution

    2016-09-27

    № Арт.НР количество имя китайское имя 1 WG9000361201 1 правый угол разъема тела NG8 / NW6 直角接头体 NG8/NW6 2 WG9000361317 1 T совместное тройник тело 3 - NW6 Т 型三通接头体 3-NW6 其他管路连接件 другие трубы$ Qul wg9000361004 1 our极

    阅读更多
  • Yправление至г执м执异聚
    Yправление至г执м执异聚

    2016-09-27

    НЕ ЧАСТИ NO количество имя 名 称 1 WG9000361107 2 через совместный NG6 / NW4 直通接头体 NG6/NW4 其他管路连接件 другие трубы WG9000361001 2 упругий элемент NG6 弹性元件 NG6 WG9000361002 2 стопорное кольцо NG6 卡簧 NG6 WG9000361003 2 гайка сиденья NG6 螺母座NG61900031797825полиамидphi -

    阅读更多
  • lisum /listim。
    lisum /listim。

    2016-09-27

    № Арт.НР количество имя китайское имя 1 WG9000270002 1 двойной ai r Рог без стенты 双音气喇叭无支架 2 WG9000361107 4 через совместный NG6 / NW4 直通接头体 NG6/NW4 3 3 WG9000361109 1 через совместный NG8 / NW4 直通接头体 NG8/nw4 4 WG9000361405 1 2-NG6крос-见 - 第仑函件,函wg9000270005 1 - в都

    阅读更多
  • частиABSпереднероси(Верх)
    частиABSпереднероси(Верх)

    2016-09-27

    °частиnouLis lis libistion libishim名12wg9000360101 1 24«¥и24" 膜片式制动气室(右) 2 WG9000361401 2 давления испытания совместной Ассамблеи 压力测试接头总成 3 WG9003559901 2 карты рукав тройник Объединенного тела M18 / М22 / M12 卡套式三通接头体 M18/М22/M12 4wg9725360451 2мш电йшd了ш

    阅读更多
  • пере归ча警
    пере归ча警

    2016-09-27

    °частиnouLis lis libistion libishim名12wg9000360101 1 24«¥и24" 膜片式制动气室(右) 2 190003559955 2 правый угол разъема тела 直角接头体 3 WG9725360451 2 тормозной шланг Ассамблеи (670) 制动软管总成 (长 670 ) 4 WG9000361105 2 L12 прямо через разъем платы перерезатьc之九。

    阅读更多
  • 都

    2016-09-27

    НЕ ЧАСТИ NO КОЛИЧЕСТВО ЧАСТИ ИМЕНИ 称 名 1 WG9000361204 10 NG12 / NW9 правый угол разъем тела 直角接头体NG12/NW9 2 WG9000361305 2 L NG12/2 - NW9 тройник совместный орган L 型三通接头体 NG12/2-NW9 3 WG9000361406 3тройник совместный орган NW9 / NG12 / ТЕСТ Т 型接头体 NW9/NG12/ТЕСТ 4 WG9000361310 2 T 3 - NW9 тройник совместный орган T型三通接头体3-NW9 5 WG9000361101 2 через совместный NG12 / NW9 直通接头体NG12/NW96 WG90003612 ...

    阅读更多
  • частидвой儿
    частидвой儿

    2016-09-27

    НЕ ЧАСТИ NO КОЛИЧЕСТВО ЧАСТИ ИМЕНИ 称 名 1 WG9000361204 11 NG12 / NW9 Угловые разъем тела 直角接头体 NG12/NW9 2 WG9000361406 2 тройник совместный орган NW9 / NG12 / ТЕСТ Т 型接头体 NW9/NG12/ТЕСТ 3 WG9000361310 4 T 3 - NW9тройник совместных Т 型三通接头体 3-NW9 4 WG9000361201 2 правый угол разъема тела NG8 / NW6 直角接头体 NG8/NW6 5 WG9000361203 1 NG12 / правый угол разъема NW12 тела 直角接头体NG12/NW12 6 WG9000360600 2 диа...

    阅读更多
  • часть -μ干讯
    часть -μ干讯

    2016-09-27

    НЕ ЧАСТИ NO КОЛИЧЕСТВО части имени 名 称 1 WG9000361204 4 NG12 / NW9 Угловые разъем тела 直角接头体 NG12/NW9 2 WG9000361101 1 через совместный NG12 / NW9 直通接头体 NG12/NW9 3 WG9000361304 1 Л тройник совместный орган NG12/2 - NW6 Л型三通接头体 NG12/2-NW6 4 WG9000361105 2 L12 прямо через разъем платы резки втулки типа имеет тело/NG12 卡套式直通过板接头体 L12 / NG12 5 WG9000360140 2 Спиральные трубки 螺旋管 6 190004000000 2 кон...

    阅读更多
  • 1

  • 2
  • >>
  • 总共

    2

    页面
联系我们
  • 电话:+86 531 6138 8377

    传真:+86 531 6138 8177

  • 罗伯特:008618766172431

  • 电子邮件:sales@topleadzzl.com

  • Skype:Roberttoplead

  • 第五建筑区2号,第15号,第15号,兰江路,田田区,中国吉南市

在线足球博彩