HOWO离合器
  • Φ430毫米离合器
    Φ430毫米离合器

    2016-09-27

    不。部分没有。数量部分名称的中文名字1/1 WG9114160011/1盖总成430型离合器压盘总成(南京法雷奥)1/2 WG9114160011/2盖总成430型离合器压盘总成(上海伊顿)2/1 WG9114160020/1 1驱动盘CΦ430离合器430型离合器从动盘总成(南京法雷奥)2/2 WG9114160020/2 1驱动盘CΦ430离合器430型离合器从动盘总成(上海伊顿)3/1 WG9114160030/1 1分离轴承分离轴承(南京法雷奥)3/2 WG9114160030/2 1分离轴承分离轴承(上海伊……

    阅读更多
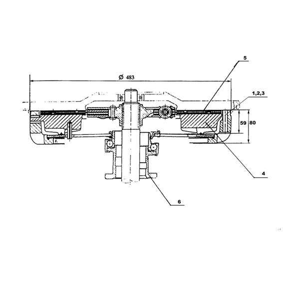
  • Φ430毫米离合器Ⅱ
    Φ430毫米离合器Ⅱ

    2016-09-27

    不。部分没有。部件名称数量1 Q1201040TF2螺柱12 2 Q40310弹垫12 3 Q340B10六角。螺母12 - WG9114160010 Φ430离合器11 /4 WG9114160011压板11 /5 WG9114160020从动盘11 /6 WG9114160030释放轴承1

    阅读更多
  • Φ420毫米离合器
    Φ420毫米离合器

    2016-09-27

    Φ420毫米离合器* 420 420 b - BZ1560161090 1√滚筒C - BZ1560160013 1√滚筒C 1 BZ1560161093 1√√滚筒2 BZ1560161212 1√√止推环3 BZ1560161100 6√√插头4 BZ1560161119 6√√六角螺钉5 BZ1560161112 6√√螺母6 BZ1560161113 6√√柜7 BZ1560161114 27√滚筒spr……

    阅读更多
  • 离合器操作系统
    离合器操作系统

    2016-09-27

    不。部分没有。部分的名称数量- AZ9719360051轴1 - AZ9719360050组合支架1 1 AZ9719230045离合器踏板1 1/2 AZ9123230226橡胶竖板1 1/3 AZ9123360067插头1 4 AZ9719360060布什2 6 Q150B0620螺钉1 7 Q40306弹簧垫圈1 8 Q40106垫圈1 9 Q40308弹簧垫圈3 10 Q340B08…

    阅读更多
    总共

    1

    页面
联系我们
  • 电话:+86 531 6138 8377

    传真:+86 531 6138 8177

  • 罗伯特:008618766172431

  • 电子邮件:sales@topleadzzl.com

  • Skype:roberttoplead

  • 中国济南市田桥区兰翔路15号2区5栋

在线足球博彩